作为中国基础设施及不动产领域信息综合服务商,睿思坚持以专业视角洞察行业发展趋势及变革,打造最具公信力和影响力的垂直服务平台,输出有态度、有锐度、有价值的优质行业资讯。
作者:债券民工在路上
来源:债券民工(ID:bondworker)
根据黔西南州城市建设投资(集团)有限公司(以下简称“黔西南城投”)2022年1月5日的公告,贵州省国有资本运营有限责任公司出资14亿元,成为持有公司13.1%股权的股东。黔西南城投的实际控制人未发生变更,仍然是黔西南州国资委,目前已完成了股权变更工商手续。黔西南城投的主体信用等级为中诚信国际AA。

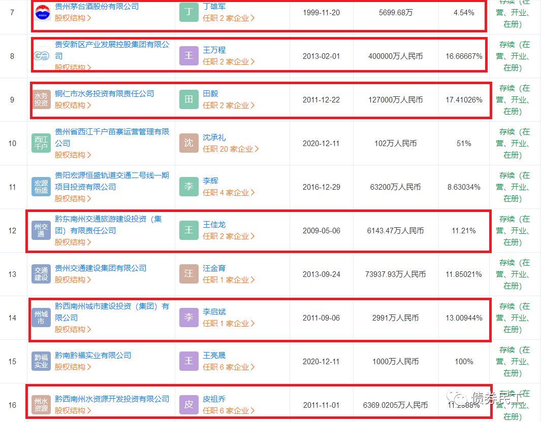
贵州省国有资本运营有限责任公司(以下简称“贵州国资公司”)的控股股东是贵州金融控股集团有限责任公司,实际控制人是贵州省财政厅。从公开信息来看,贵州国资公司对外投资共有17家公司,其中持有贵州茅台酒股份有限公司4.54%的股权,并持有贵州交通建设集团有限公司11.85021%的股权。

根据公开信息,除了黔西南州城市建设投资(集团)有限公司之外,贵州国资公司已经参股贵州省多家市级城投公司:

1、2020年12月31日,贵州国资公司成为贵安新区产业发展控股集团有限公司(中诚信国际主体信用等级AA,实际控制人贵安新区管委会)持股比例为16.6667%的股东。

2、2021年4月30日,贵州国资公司成为铜仁市水务投资有限责任公司(中诚信国际和联合资信主体信用等级AA,实际控制人铜仁市国有资产管理局)持股比例为17.41026%的股东。

3、2021年12月21日,贵州国资公司成为黔东南州交通旅游建设投资(集团)有限责任公司(中诚信国际和中证鹏元主体信用等级AA,实际控制人黔东南州国资委)持股比例为11.21%的股东。

4、2021年12月27日,贵州国资公司成为黔西南州水资源开发投资有限公司(实际控制人黔西南州国资委)持股比例为11.2988%的股东。

注:文章为作者独立观点,不代表资产界立场。
题图来自 Pexels,基于 CC0 协议
本文由“债券民工”投稿资产界,并经资产界编辑发布。版权归原作者所有,未经授权,请勿转载,谢谢!
原标题: 贵州国资公司已入股多家市级城投公司!

债券民工 











