中国最专业、最具规模的信用评级机构之一。 业务包括对多边机构、国家主权、地方政府、金融企业、非金融企业等各类经济主体的评级,对上述经济主体发行的固定收益类证券以及资产支持证券等结构化融资工具的评级,以及债券投资咨询、信用风险咨询等其他业务。
作者:债券民工在路上
来源:债券民工(ID:bondworker)
最近房地产企业是市场关注的焦点,频繁上热搜。三条红线、集中供地等一系列针对房地产行业监管措施的出台,对于房地产公司来说是巨大的挑战。对于很多房地产公司来说,2021年最重要的任务可能就是先活下去。这两天持续被房地产公司的新闻刷屏,也从某种程度上体现了不少房地产公司面临的困境。但是,房地产行业昨天也迎来了两个重磅利好:
1、根据财联社2021年11月10日的消息,交易商协会举行了房地产企业代表座谈会,部分房地产公司计划发行债务融资工具产品。

2、根据中国金融新闻网的报道,高盛表示正在买入中国房企债券,这对于近期波动较大的房企美元债市场无疑是一针强心剂。

信用债券作为资本市场上重要的融资工具和手段,对于房地产行业来说十分重要。根据wind数据的房地产业口径进行统计,从2019-2021年三年的1月-10月的信用债券融资数据来看,2021年房地产行业债券发行金额相比2020年同期略有下降,金额变化并不大。当然需要关注的是,房地产行业信用债券发行只数占比和发行金额占比均持续下降。

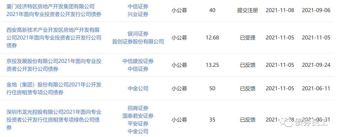
不只是在交易商协会计划发行债务融资工具,近期多家房地产公司在交易所也在申报公司债券,比如金地(集团)股份有限公司、深圳市龙光控股有限公司和厦门经济特区房地产开发集团有限公司。

注:文章为作者独立观点,不代表资产界立场。
题图来自 Pexels,基于 CC0 协议
本文由“债券民工”投稿资产界,并经资产界编辑发布。版权归原作者所有,未经授权,请勿转载,谢谢!

债券民工 











